Store: Contorion
Bewertung: ★★★★☆ (113 Rezensionen)
Standort: Berlin, DE
Contorion Logo
Contorion

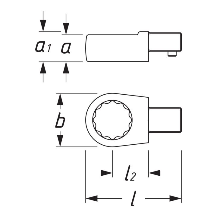
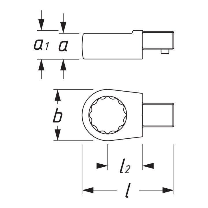
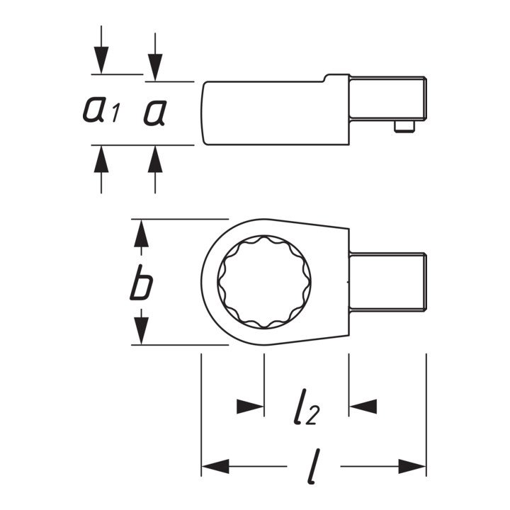
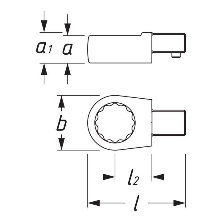
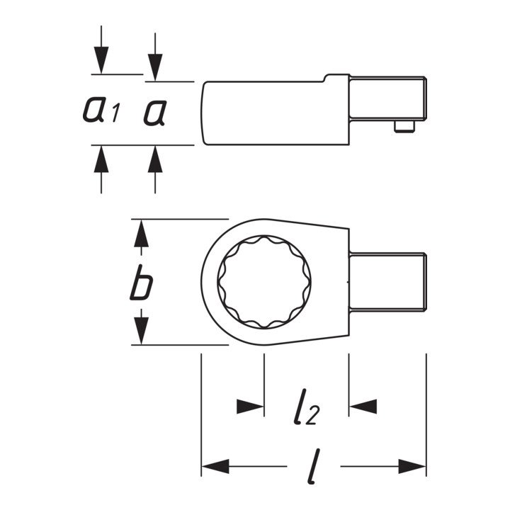
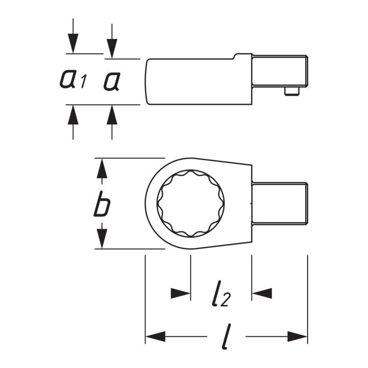
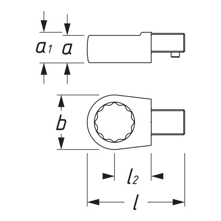
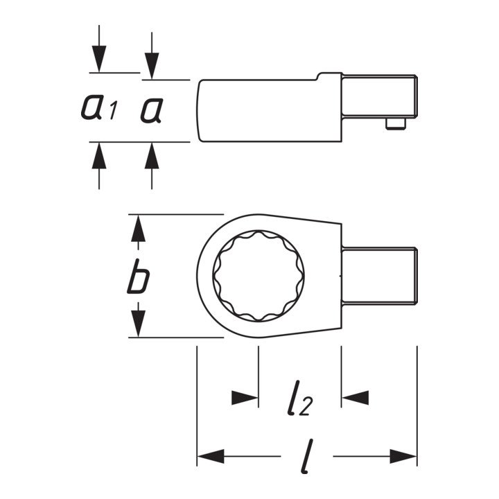
Einsteck-Ringschlüssel

Händler-Welt Handwerkzeuge Einsteckwerkzeuge Einsteck-Ringschlüssel
50 Pro Seite
1