Store: ManoMano DE
Bewertung: ★★★★☆ (113 Rezensionen)
Standort: Berlin, DE
ManoMano DE Logo
ManoMano DE

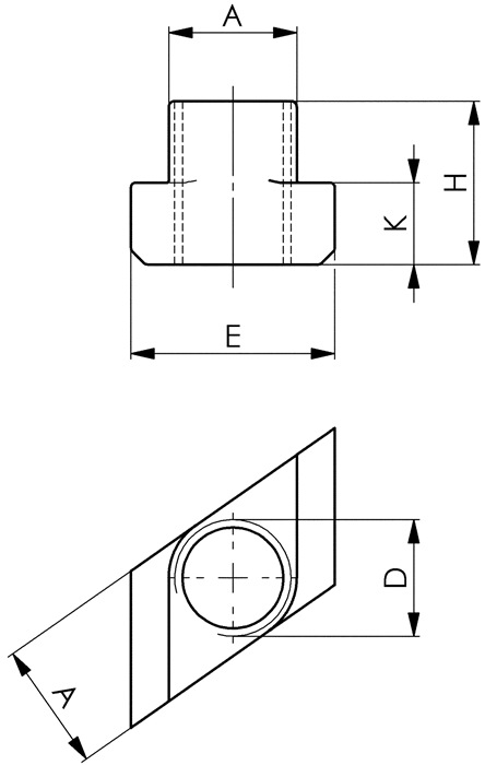
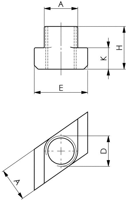
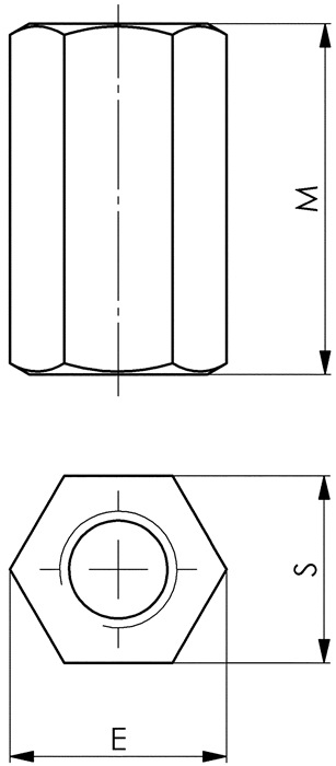
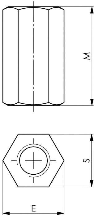
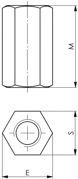
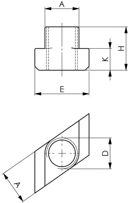
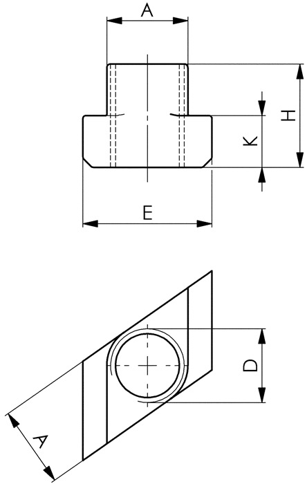
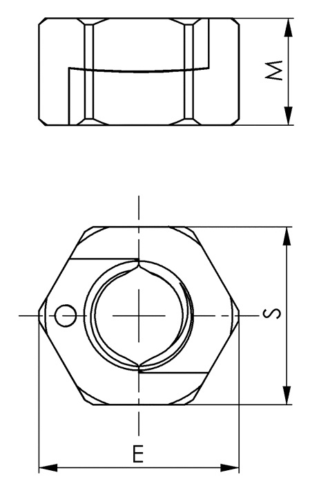
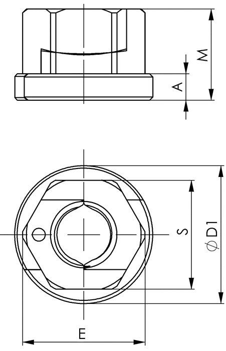
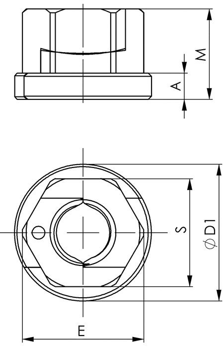
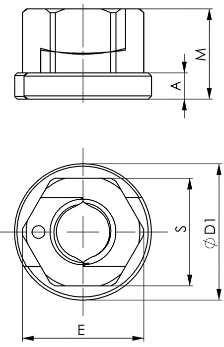
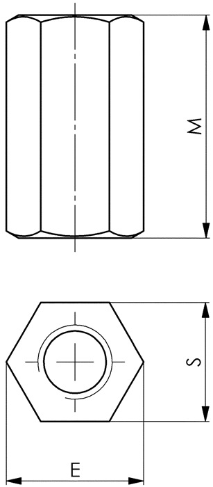
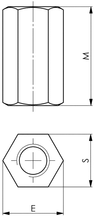
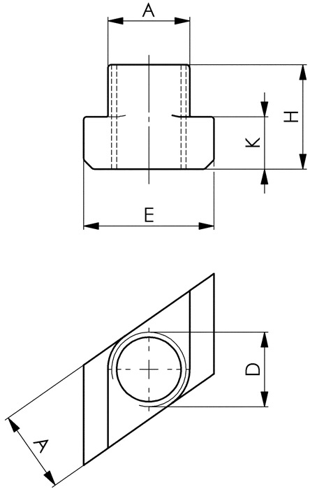
Muttern

Händler-Welt Befestigungsmittel Muttern
50 Pro Seite