Store: ManoMano DE
Bewertung: ★★★★☆ (113 Rezensionen)
Standort: Berlin, DE
ManoMano DE Logo
ManoMano DE

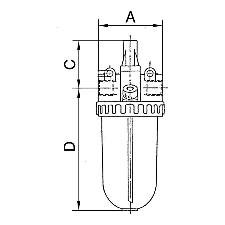
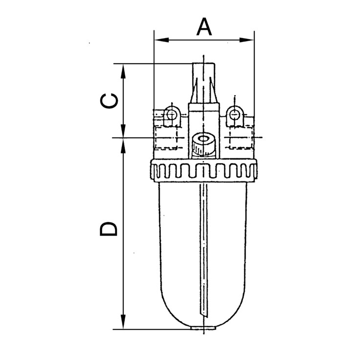
Druckluftöler

Händler-Welt Zubehör & Arbeitsmittel Druckluftgeräte Druckluftöler
50 Pro Seite
1