Store: Amazon DE
Bewertung: ★★★★☆ (113 Rezensionen)
Standort: München, DE
Amazon DE Logo
Amazon DE

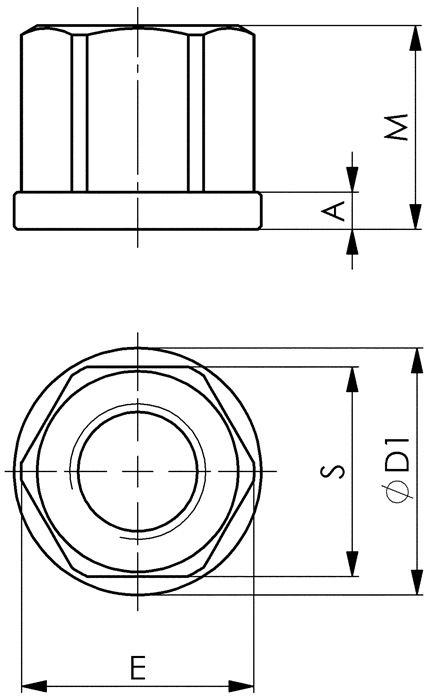
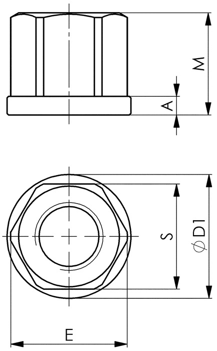
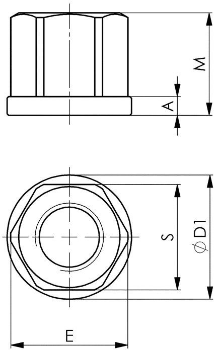
Muttern

Händler-Welt Befestigungsmittel Muttern
50 Pro Seite
1